РАЗРАБОТВАНЕ НА АНТИ-СКИМИРАЩО УСТРОЙСТВО
За да може да се извърши един по-задълбочен анализ, първо ще трябва да разгледаме мястото, където анти-скимиращото устройство би могло да бъде монтирано, за да доведе до най-добрите желани резултати. За нуждите на анализа ще използваме един банкомат, но не трябва да се изключва приложението на антискимиращото устройство и във вендинг машини, киоск автомати и цялата останала палитра от устройства, приемащи платежни карти.
За да можем да определим от какви материали да бъде изработено едно ново, рационално и не скъпоструващо антискимиращо устройство, трябва да разгледаме банкомата от всичките му страни, да разберем как работи и какви системи използва, какви операции извършва, от какви материали са изработени неговите компоненти, кой и как ще използва АТМ-а, на какви метеорологични условия ще бъде подложен, как си взаимодействат системите и устройствата вградени във него, какви консумативи са му нужни, и най-важното къде е най-подходящото място за монтирането на анти-скимиращата защита, без да пречи на работата на АТМ-а и да си взаимодейства с останалите системи, компоненти и защити.
Има няколко типа банкомати в съответствие с тяхното място на използване – лоби банкомати, свободно стоящи банкомати за външна употреба, банкомати за монтиране през стена, също тъка банкомати от типа Walk-up или Drive-up. Walk-up и Drive-up обикновено са свободно стоящи банкомати за външна употреба или за монтиране през стена, но разликата при двата типа е в наклона на предния панел (лицето) на банкомата. При Walk-up банкоматите (пешеходно преминаване), които са възможно най-разпространените в света банкомати, наклонът на предният панел е около четиридесет и пет градуса спрямо вертикалната ос. При Drive-up банкоматите (преминаване с автомобил), предният панел на банкомата е отвесно. За по голяма нагледност на фигурата долу е показана разликата на два банкомата за монтиране през стена във версии Walk-up и Drive-up.

За да е възможно отличаването на различните типове банкомати, на фигурата по-долу са показани горецитираните близки по своят вид, но различни по спецификация на местоположението си, видове банкомати.

|
Лоби |
Свободно стоящ |
През стена |
През стена |
Свободно стоящ |
|
АТМ |
външен Walk-up АТМ |
Walk-up АТМ |
Drive-up АТМ |
Drive-up АТМ |

На фигурите горе са показани двата типа най-разпространени банкомати в света. Единият е свободно стоящ „лоби“ банкомат, който се използва за употреба вътре в сгради и помещения, а другият е за вграждане през стена – за външна употреба на открито, за използване при различни метеорологични условия. Трябва да се има предвид и това, че дори и така, за нуждите на своята поддръжка, банкоматите се разделят на такива с предно или задно обслужване, както операционния отсек, така и сейфовия отсек.
На следващите фигури са показани същите - свободно стоящи „лоби“ банкомати за вграждане през стена – за външна употреба с техните размери в милиметри и инчове.


За да бъде едно анти-скимиращо устройство универсално и приложимо към повече типове банкомати, ще ни се наложи, за нуждите на анализа, да разгледаме минимум два от основните АТМ-и и това ще бъдат един свободно стоящ лоби банкомат и един Walk-up, който се вгражда през стена.


Клиентски панел 1. Заключваща отключваща дръжка
Картов четец 2. Затвор на транспортен изход за пари
Баркод четец 3. Ключалка на предна врата
Паричен прозорец 4. Шифрова механична ключалка
Ключалка на предна врата 5. Операционен панел с USB вход
Предна врата 6. Механична ключалка с ключ
7.Предна врата
|
|
|
||||||||||||||||||||||||||||||
|
|
|
||||||||||||||||||||||||||||||
|
|
|
|||||||||||||||||||||||||||||||||||
|
|
|
|||||||||||||||
|
|
|
||||||||||||||||||||||||||||
Започвайки от външната обвивка на двата банкомата, на фигурите по-горе са показани с обяснение към тях, главните компоненти, които имат един свободно стоящ лоби банкомат и един банкомат за монтиране през стена. От така показаните фигури е видно, че в АТМ-ите няма нищо сложно или непознато на пръв поглед, но това не трябва да ни заблуждава. Освен това по устройство на принципно и технологично ниво, разлика при двата типа банкомати почти няма.
В следващите няколко фигури и таблици ща бъдат показани някои от по-важните функционални елементи на банкомата с тяхното точно местоположение.

|
|
|
|
Разчет на обслужване на клиенти извън автомобили |
||
|
|
|
Елементи на лицевия панел на банкомата |
Височина от основата на корпуса на банкомата |
Дълбочина (от рамената) |
|
|
|
|
UL |
CEN |
UL / CEN |
|
|
A |
|
Издаване на отчет или вход/изход за депозитна книжка |
1078 мм |
1087 мм |
199 мм |
|
B |
|
Вход приемащ чекове |
1072 мм |
1081 мм |
197 мм |
|
C |
|
Издаване (даване) на монети
|
1075 мм |
1084 мм |
166 мм |
|
D |
|
305 мм сензорен екран |
999 мм |
1008 мм |
214 мм |
|
381 мм сензорен екран |
1020 мм |
1029 мм |
220 мм |
||
|
E |
|
305 мм екран 1-ви FDK (клавиш) |
945 мм |
954 мм |
163 мм |
|
381 мм екран 1-ви FDK (клавиш) |
952 мм |
961 мм |
168 мм |
||
|
F |
|
305 мм екран 2-ри FDK (клавиш) |
918 мм |
927 мм |
144 мм |
|
381 мм екран 2-ри FDK (клавиш) |
920 мм |
937 мм |
145 мм |
||
|
G |
|
Издаване (даване) или приемане на банкноти - вход/изход |
740 мм |
749 мм |
99 мм |
|
H |
|
Издаване(даване) или приемане на пликове - вход/изход |
740 мм |
749 мм |
99 мм |
|
I |
|
Клавиш № 5 |
705 мм |
714 мм |
42 мм |
|
J |
|
Гнездо – аудио вход |
815 мм |
824 мм |
81 мм |
|
K |
|
Камера |
865 мм |
874 мм |
83 мм |
|
L |
|
Вход (уста) на картов четец |
949 мм |
958 мм |
87 мм |
|
M |
|
Издаване (даване) на чекове |
1073 мм |
1082 мм |
117 мм |

|
|
Елементи на лицевия панел |
Разстояние от клавиш № 5 |
Разположение по циферблата на часовник |
|
A |
Издаване (даване) или приемане на банкноти или издаване (даване) или приемане на пликове вход/изход |
144 мм |
9 |
|
B |
305 мм екран 1-ви FDK (най-горен ляв клавиш) |
306 мм |
10 |
|
381 мм екран 1-ви FDK (най-горен ляв клавиш) |
333 мм |
10 |
|
|
C |
Приемане на чекове или издаване (даване) |
426 мм |
11 |
|
D |
Издаване на отчет или вход/изход за депозитна книжка |
378 мм |
12 |
|
E |
Издаване (даване) на чекове |
446 мм |
1 |
|
F |
Вход (уста) на картов четец |
355 мм |
1 |
|
G |
Гнездо – аудио вход |
264 мм |
2 |
|
H |
Издаване (даване) на банкноти или издаване (даване) или приемане на пликове - вход/изход |
184 мм |
3 |
Предвид малкото пространство във вътрешността на банкомата и факта, че самото антискимиращо устройство не трябва да заема много място и да не пречи на нормалната работа на АТМ-а, материалите, от които трябва да бъде изработено трябва да са с голяма якост и твърдост. Освен това концептуалното решение за практически извършваната дейност на това устройство и взаимодействието му с останалите процеси и системи, опериращи в банкомата трябва да се изпитат в реална среда, защото е възможно, някое концептуално решение по своя характер да е много добро, но да се окаже че не е приложимо в практиката поради обемност например.
Техническите средства за изработката на антискимиращо устройство също така трябва да са съобразени и с условията, при които ще работи банкомата – неговата работна среда. За да е приложимо устройството при всички видове банкомати трябва да разгледаме възможно най-песимистичните или така наречени максимално допустими стойности за работна среда параметри, на които е подложен един банкомат.
За да може АТМ терминалът да работи правилно в обекта, в който той следва да бъде инсталиран, той трябва да отговарят на следните изискванията на заобикалящата го среда:
АТМ терминалът ще работи в един диапазон на заобикаляща го среда с определен фонов шум, натоварване, електрическо захранване, и подложен на климатични особености като температура и влажност. Въпреки това, непрекъсната работа при или близо до граничните стойности или на място, където температурата и влажността на климата са извън спецификацията, то е желателно тази среда да се избягва. Параметрите и техния диапазон са както следва:
Електро захранване на банкомата и кабели за пренос на данни:
Стандартният кабел за пренос на данни използван в банкоматите има следните параметри: 101.2 x 45.7 x 27 mm (3.98" x 1.8" x 1.06") (W x H x D) – четирижичен със стандартни цветове – червен, бял, зелен, черен
Електрически характеристики на захранващата мрежа:
|
Диапазон на линиите за високо напрежение |
110 - 120 V |
220 - 240 V |
|
Номинална честота |
50/60 Hz |
50/60 Hz |
|
Тип мрежа |
TN* |
TN* |
|
Допустимо отклонение на диапазон на напрежението |
- 10 % до + 6 % |
- 10 % до + 6 % |
|
Допустимо отклонение на номиналната честота |
± 1 % |
± 1 % |
* Електрическа мрежа с директна връзка на достъп на проводимите части със заземена неутрална точка на мрежата от системата
Условия на работа на устройството:
|
|
110 - 120 V |
220 - 240 V |
||
|
|
Идеална среда |
Максимални стойности |
Идеална среда |
Максимални стойности |
|
С наличие на UPS |
|
|
|
|
|
Номинална консумация на ел. енергия |
1.7 A |
3.2 A |
0.9 A |
1.7 A |
|
Консумация при пълна мощност |
175 VA |
340 VA |
190 VA |
320 VA |
|
Активна мощност |
165 W |
295 W |
160 W |
285 W |
|
Коефициент на мощността |
0.96 |
0.91 |
0.84 |
0.84 |
|
Токова утечка (max.) |
1.2 mA |
1.2 mA |
1.2 mA |
1.2 mA |
|
Без наличие на UPS |
|
|
|
|
|
Номинална консумация на ел. енергия |
2.7 A |
4.2 A |
1.3 A |
2.1 A |
|
Консумация при пълна мощност |
290 VA |
455 VA |
280 VA |
410 VA |
|
Активна мощност |
265 W |
395 W |
245 W |
370 W |
|
Коефициент на мощността |
|
|
|
|
|
Токова утечка (max.) |
3.5 mA |
3.5 mA |
3.5 mA |
3.5 mA |
|
Отопление (без устройство) |
|
|
|
|
|
Номинална консумация на ел. енергия |
|
5.4 A |
|
2.9 A |
|
Консумация при пълна мощност |
|
700 VA |
|
650 VA |
|
Активна мощност |
|
700 W |
|
650 W |
|
Коефициент на мощността |
|
1 |
|
1 |
|
Клас на защита |
I |
I |
||
|
Тип на
системен
конектор |
Специфична за приемащата държава - безопасен щепсел CEE щепсел в комбинация с IEC 309 щепсел |
Специфична за приемащата държава - безопасен щепсел CEE щепсел в комбинация с IEC 309 щепсел |
||
|
Предпазител |
10A бавен предпазител или 16A прекъсвач |
10A бавен предпазител или 16A прекъсвач |
||
|
Степен на защита при въздействие осигурени от обвивката - EN 60529 |
IP 20 |
IP 20 |
||
|
Ако UPS се използва, той трябва да бъде свързан само с CEE щепсел. |
||||
Необходимото пространство за експлоатация и поддръжка на един средно статистически банкомат е около 2 m2 (21.52 ft2). Нормалният сейф на банкомата, обикновено е със защита клас CEN IV с повърхностно натоварване при CEN IV - 19.4 kN/m2 (2.81 lbf/in2), с тегло 890 kg (1962.45 lb) и капацитет на вентилатора 60 m3/h (2118.6 ft3/h). Механични условия на околната среда в съответствие с EN 60721, съгласно които банкоматът трябва да може да оперира, са както следва:
|
Влияния от: |
Клас |
Забележки |
|
Експлоатация |
3М2 |
Сграда с минимални външни вибрации |
|
Транспорт |
2М2 |
Всички видове превозни средства и ремаркета, както и железопътен и въздушен транспорт |
|
Съхранение |
1М3 |
Забележими вибрации и подутини, причинени например от машини или преминаващи превозни средства |
Климатичните условия на околната среда в съответствие със стандарт EN 60721 при които банкоматът трябва да може да оперира, имат следните параметри:
Експлоатационни параметри на средата - температура/относително влажност:
|
|
Клас |
Работна температура в °C |
Относителна влажност в % |
|
|
Експлоатация на закрито |
3К3 |
от + 5 до + 40 |
от 5 до 85 |
|
|
Експлоатация навън с отопление |
|
от - 40 до + 50 |
от 5 до 85 |
|
|
Експлоатация навън без отопление |
|
от + 5 до + 50 |
от 5 до 85 |
|
|
Скорост на температурна промяна |
|
до 10 на час |
|
|
|
Скорост на промяна на относителна влажност |
|
|
до 10 на час |
|
|
Температурно ограничение за точка на кондензиране |
Максимална амплитуда 26°C |
|||
|
При екстремен диапазон на работа до 1 час |
3К3 |
от + 0 до + 40 |
от 5 до 95 |
|
|
При ограничен диапазон на работа на закрито |
3К3 |
от + 5 до + 40 |
от 5 до 95 |
|
|
Транспорт |
2К2 |
от - 25 до + 60 |
от 15 до 98 |
|
|
Съхранение |
1К2 |
от + 5 до + 40 |
от 5 до 85 |
|
Експлоатационни параметри на средата – атмосферно налягане:
При нормален работен диапазон: до 140kPa (20.27 lb. F/in.)
Еквивалент на надморска височина: до максимум 4000 метра (13000 фут)
Банкоматът би могъл да поема положително външно към вътрешно (отвън -навътре) налягане с амплитудна разлика до 70 паскала (0,01 lbf/inch2) (или за по-високо налягане трябва да се оборудва с херметизираща функция).
Пределно допустимо емитиране на шумови емисии в съответствие със стандарт EN 27779
|
Шумув рейтинг съгласно ISO 9296 |
Идеална среда/ режим готовност |
Нормални операции |
|
Ниво на сила на звука в LWAd |
5.5 B |
7.0 B |
|
Допустими дози, свързани с ниво на акустично напрежение в LpAm |
43 dB |
57 dB |
|
(в непосредствена близост при експлоатация) |
|
|
Трябва да се има предвид че пределно допустимите граници на опериране при гореописаните параметри от стандартите, все пак имат толеранс от още около десет процента.
След като разгледахме характеристиките на средата, в която оперира един банкомат, вече е налице възможността да предвидим главните параметри на възможните средства за разработване на антискимиращо устройство. От това следва, че за да има универсално приложение във повечето видове банкомати, то устройството не трябва да излиза от параметрите на стандартите на средата, в която оперира самият АТМ.
Преобладаваща част от водещите производители на банкомати, използват различни цветове за да декорират определени части и устройства вградени в него. Най-използваните цветове са черно, бяло, сиво и сребрист металик за металните части, оранжево, зелено, жълто и червено, като някои производители заменят някои от цветовете с друг цвят (например синьо вместо зелено) по свое усмотрение, за да се отличават от останалите, но в повечето случаи се спазва класическата окраска като стандарт. Поради факта, че повечето банки, други финансови институции и фирми, стопанисващи и опериращи банкомати в повечето случаи имат разнороден парк от марки и модели за поддръжка и тяхното техническо обслужване се извършва през годините от различни дружества – точно за тяхно улеснение са поставени тези цветове, като принципно решение. Различните цветове се използват за означаване на различното предназначение на определени части, компоненти и/или цели модули, за да се намали рискът от повреда на оборудването или телесна повреда на обслужващия го персонал, при спазване на мерките за безопасност и визуалното цветово разпределение за извършване на техническо обслужване на банкомат както следва:
сребрист металик – почти всички метални части в един банкомат са с този цвят, по принцип той е основен по принцип за интериора и екстериора на АТМ-а.
черно – цветът обикновено се използва за кутии на отделни модули и различни устройства на банкомата. Освен това в него са оцветени гумените транспортни ленти, пластмасовите четци, гумираните валци, предавки и накрайници.
бяло –използва се главно за зъбните колела на транспортните компоненти на банкомата, поради факта че при него лесно се откриват отклонения от стандарта, като например пукнатини, липса на зъб и т.н. В най-общи линии бялото се използва за консумативните части, които подлежат на редовна подмяна, поради бързото им износване, при почистване и сервизиране.
сиво – обикновено се използва за онези компоненти в банкомата, които трябва лесно да бъдат изваждани и/или подменяни.
оранжево – използва се за достъп до отделните модули, т.е. – оранжевият цвят се използва за направа на оранжеви дръжки, ключалки или лостове за освобождаване и издърпване на отделни модули от банкомата.
зелено – това е цветът за взаимодействие с потребителя. От външната страна обикновено са означени или светят в зелен цвят места като: слота за карти, около клавиатурата, слотовете за депозиране или теглене на пари (чекове, пликове, монети), мястото за включване на слушалки и около принтера за касовият бон. От вътрешната страна при техническо или друг вид обслужване, местата, които са означени със зелен цвят са дръжки (дръжките на контейнерите за банкноти (чекове, пликове, монети)) или ключалки и колела, работещи в рамките на модулите за попълване или замяна, отстраняване на задръствания, причинени от скъсани банкноти (хартия, косми, натрупана прах или боклук), или задачи по изпразване (попълване/презареждане) и/или почистване.
жълт – безопасни точки за повдигане. Използват се само при ремонт или поддръжка.
червен – както и във всички други устройства е цветът обуславящ опасност.
След като бъде изработен прототипът на опитният образец, предвид неговите функции ще се наложи да бъде обагрен във един от гореописаните цветове или да се проведат консултации с производители на банкомати по този въпрос.
Нека сега да разгледаме основните компоненти и системи, вградени в един банкомат, тяхното разпределение и функции, за да се опитаме да намерим най-подходящото място за антискимиращото устройство. Това ще ни позволи да условно да определим неговия габарит.
На
тази фигура е показано разположението на модулите от лицевата страна.

На тази фигура е показано разположението на модулите от задната страна на банкомата.
В местата указани с А, В, С, D и E, на следващата фигура е възможно да бъдат поставени най-различни взаимнозаменяеми модули и отделни системи, които биха дали възможност да бъдат използвани различни функции, в зависимост от конфигурацията, предназначението, местоположението, нуждите или предпочитанията на АТМ оператора. Тъй като те са взаимнозаменяеми и имат безброй конфигурации, най-важното в случая е, че те са в синхрон и взаимодействие, без да си пречат едно на друго.

На местоположение А или В:

|
приемащо банкноти устройство |
устройство за прием и повторно използване на банкноти |
приемащо и подаващо(издаващо) пликове устройство |
|
|
|
|
|
|
|
|
На местоположение А и / или В:


|
подаващо и разпределително устройство за банкноти |
приемащо банкноти устройство |
|
|
|
На местоположение С:

|
подаващо и разпределително устройство за монети |
Чеко-обработващо модуларно устройство |
Мащабируемо (скалово) чек процесор устройство |
На местоположение D:

|
Журнален принтер (за отчети) с хартия на руло |
Двустранно печатащ пасбук принтер |

|
Принтер за отчети/чекове/депозитни книжки (пасбук) |
Журнален принтер (за отчети) с хартия на пачка |
На местоположение Е:

|
Принтер за квитанция с хартия на руло |
Принтер за квитанция с хартия на две ролки |
Предвид това, че настоящият анализ има за цел да се предвидят възможните технически средства за разработване на антискимиращо устройство, ще бъдат разгледани по-обстойно различните видове картови четци, както и тяхното местоположение и функции.
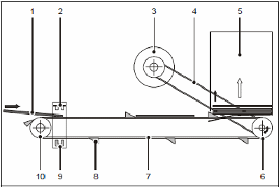
В този случай ще започнем разглеждането на картовия четец от задната страна на банкомата, защото общото за всеки един картов четец от различните марки и модели на различните производители, все пак завършват с контейнер за отхвърлени, забравени или задържани карти. В зависимост от модела на банкомата, по показател от къде се извършва сервизното му обслужване (отпред, отзад или отстрани) и това дали сервизните модули са на шейна, имаме следните няколко варианта:

Тук са показани три варианта с наличие на удължена транспортна лента. Както е видно от картинката, транспортната лента бива къса и дълга, като другата особеност им е в различните видове контейнери – в зависимост от натоварването на банкомата на фигурата са показани такива с малък обем и един контейнер с голям обем, но всички са от вида „затворени с достъп със секретен ключ”. За онагледяване на разликата е показан стандартен контейнер и контейнер със заключване.

Картата преминава по следния начин, за да достигне до контейнера:

Контейнер
Движение на карта при попадане в контейнера
Движение на картовия четец при изпълнение на операция по задържане
|
1 |
Карта |
|
2 |
Фотосензор (предавател и приемник) |
|
3 |
Мотор |
|
4 |
Задвижващ ремък |
|
5 |
Контейнер |
|
6 |
Колесна транспортна ролка |
|
7 |
Транспортни ленти |
|
8 |
Транспортен клин |
|
9 |
Рефлекторна призма |
|
10 |
Обтегателна ролка |

Устройството
и функциите на моторизирания картов четец са видни от следващите
фигури.

Четците обикновено са пригодени за повечето технологични видове карти.

или

Този модел е с малко повече функции, защити и датчици.
Така конструирания картов четец, поема картата, придвижва я към своята сърцевина, докато не я постави на точно определено място, за да може магнитната глава да прочете магнитната лента или да се осъществи контакт с контактната повърхност на четеца за чип-карти. След тази операция, в зависимост от това дали транзакцията е преминала успешно, картата се подава обратно към изхода, или в случаите когато е подадена команда за задържане от страна на процесинг центъра, картата бива пропусната назад към контейнера за задържани карти. Тези движения и ротационното движение на основното зъбно колело на картовия четец са показани на следващата фигура.

Когато зъбното колело с ремъчния привод се върти назад – картата излиза напред към изхода.


Придържаща скоба за MM сензор
Колела за ръчно транспортиране на картата
Гнездо за SAM модул
Лост за освобождаване на задържани лични карти
Слот за поставяне на карта
Ръчното
действие на колелата за транспортиране на картата е показано
по-горе.
Четецът на карти може да обработва магнитни карти, както и чип-карти. Обикновено четците на карти са оборудвани и с SAM модул (модул защита на достъпа). SAM модулът се състои от чип карта в ID-000 формат и специална основа в четеца на карти. SAM модулът може да се използва за изпълнение на криптиращи и декриптиращи задачи по стандарти с помощта на крипто процесор. Изборът на ID-000 чип карта е специфичен за АТМ оператора и зависи от възможностите на прилаганият от него софтуер. Повечето версии на картови четци, също така имат функция, която задържа (арестува) и лични карти (при положение, че ползвателят се е объркал и е поставил такава), ако системният софтуер открие такъв вид манипулация. Арестът на лична карта се задейства от софтуера, след като бъде разпозната такава от датчиците на картовия четец. Картата може да бъде пусната отново само и единствено ръчно от оператора на банкомата, предвид това, че тя е документ за самоличност и не може да бъде предавана на трето лице освен на нейния собственик.
Стандартните технически характеристики на картовите четци са както следва:

Интерфейс и захранване:



Лабораторно е доказано (при стайна температура с нормална влажност), че животът на един картов четец е:
C/R - между 1 750 000 – 2 000 000 преминавания на карта или пет години – без значение кое от двете събития ще настъпи първо (трябва да се има предвид, че за едно преминаване се брой едно поемане и едно връщане на картата – една цяла операция)
IC живот на контактната повърхност – около 500 000 операции
Свалящ (записващ) цикъл – минимум 100 000 пъти.
В зависимост от натоварването, ориентировъчно и животът на едно антискимиращо устройство би трябвало да бъде със същата продължителност, както и на картовия четец, но все пак, поради факта, че то ще трябва да защитава от „посегателства“ и ще бъде поставен понякога в екстремални условия и натоварвания е възможно и да е с доста по кратък жизнен цикъл.
Ако приемем за основни стойностите на картовия четец и това, че антискимиращото устройство ще трябва да работи в синхрон с него, а е твърде вероятно и да бъдат свързани, то тогава и устройството трябва да използва близки параметри, като например входящо напрежение, вид на комуникация с картовия четец, комуникация с останалите системи опериращи в него и т.н. За съжаление това е само принципно положение, което не винаги в практиката е възможно, за това ще трябва да се експериментира.
За да се защити максимално картовият четец, най-добре е антискимиращото устройство да бъде монтирано между вътрешната страна на предния панел на банкомата и слота за картата на картовия четец. Преди да разгледаме стандартните критерии за избор на антискимиращото устройство - гилотина, ще разгледаме точното местоположение, където е възможно неговото поставяне.
Стандартният просвет на процепа на предния панел на банкомата изглежда по следния начин от вътрешната страна:

От външната страна изглежда по следния начин:


Защо е така?!? Повечето антискимиращи устройства се монтират от вътрешната страна на тези четири, специално предназначени за целта, вътрешно вградени гайки, като показания на следващата снимка затвор с антискимиращи сензори:

В работна среда той изглежда по следният начин:

Експерименталните опити по разработването, трябва да покажат, дали е възможно ново разработеното антискимиращо устройство да бъде монтирано заедно с някое от съществуващите устройства и да си взаимодейства с тях или да бъде алтернативна опция за избор на операторите на банкомати. Дали ще бъде самостоятелно използвано предвид неговата надеждност или в комбинация с друго устройство, към този момент не е възможно да се каже със сигурност.
|
На тази снимка е показан процепа за карти при затворено положение, където затвора на процепа 3 (входа (слота) за карти) изглежда така, а с 1 и 2 са означени болтовете за захват. |
|
|
На тези снимка са показани процепа за карти при затворено положение, както и болтовете за захват, които са оградени в червено. |
|


За да се монтира антискимиращото устройство, все пак трябва да се вземе предвид и вида, формата и дебелината на вътрешната страна на процепа за карти, както е показано на следващата снимка. Отляво с червено е отбелязана дебелината на стената на картовия отвор, която е под деветдесет градуса, както и горната стена (отбелязана също с червен цвят), която е под наклон от около четиридесет и пет градуса.

Трябва да се обърне внимание и на това, че над самия отвор има монтиран светлинен диод (LED),който е ограден с червено на следващата снимка. Като той може лесно да бъде демонтиран при нужда, за да се освободи място, ако това се наложи.

И за да завършим с обзора на банкомата, ще онагледим и начина на поставяне на картата в процепа на банкомата, за да бъде поета от картовия четец, както следва:
